12v supply that is only powered with car OFF?
Short version:
Is there a 12v line somewhere in the car that I can tap which is only powered when the car is off?
Long version:
I've auxmodded a bluetooth audio adapter into my car. The bluetooth adapter has a five hour built-in battery, but it's a hassle recharging it so frequently. If I leave it plugged in to the cigarette light charger, it gets a bit of line noise that I haven't been able to eliminate. Otherwise, the adapter works great and does exactly what I need. If I could come up with a 12v line to tap which is only powered when the car is off, then it would charge the bluetooth adapter while I have the car parked. This means it would get no line noise and always be ready to go when I'm driving. Is there such a power source?
Thanks for any help. :-)
Is there a 12v line somewhere in the car that I can tap which is only powered when the car is off?
Long version:
I've auxmodded a bluetooth audio adapter into my car. The bluetooth adapter has a five hour built-in battery, but it's a hassle recharging it so frequently. If I leave it plugged in to the cigarette light charger, it gets a bit of line noise that I haven't been able to eliminate. Otherwise, the adapter works great and does exactly what I need. If I could come up with a 12v line to tap which is only powered when the car is off, then it would charge the bluetooth adapter while I have the car parked. This means it would get no line noise and always be ready to go when I'm driving. Is there such a power source?
Thanks for any help. :-)
All the relays in our car are N/O, so the circuit closes when the internal coil is energized.
You will need a N/C relay to achieve what you want and tap into the 15A ROOM fuse so the relay opens when the key is turned (ACC relay closes).
You will need a N/C relay to achieve what you want and tap into the 15A ROOM fuse so the relay opens when the key is turned (ACC relay closes).
Last edited by Jon316G; May 20, 2011 at 03:15 AM.
Perfect. Thanks for the info, gentlemen.
Some Googling a bit ago turned up the following post on a Subaru forum:
---
There is also another way that is much easier (than a relay). You have 2 connections, a positive and a negative. Since the actual load is not heavy and your ACC will rest at ground when turned off, you can do this:
1. Connect your positive side to the 12V constant on your ignition harness or radio harness.
2. Connect your negative side to the ACC 12V+ on your ignition harness or radio harness.
---
The OP was trying to hook up an LED that would be lit only when the car is off. Any idea if this would work for my application in an RX8? Does the ACC in an RX8 rest at ground, or does it float when off?
Thanks again for the insight.
Some Googling a bit ago turned up the following post on a Subaru forum:
---
There is also another way that is much easier (than a relay). You have 2 connections, a positive and a negative. Since the actual load is not heavy and your ACC will rest at ground when turned off, you can do this:
1. Connect your positive side to the 12V constant on your ignition harness or radio harness.
2. Connect your negative side to the ACC 12V+ on your ignition harness or radio harness.
---
The OP was trying to hook up an LED that would be lit only when the car is off. Any idea if this would work for my application in an RX8? Does the ACC in an RX8 rest at ground, or does it float when off?
Thanks again for the insight.
Yes, I tried a ground loop isolator as well as ferrite cores. It helps a bit, but not much. The noise isn't the typical alternator whine, but rather low rumbling and popping. It's perfectly clear when the bluetooth adapter is running off the battery, though.
Thanks for the suggestion. :-)
Thanks for the suggestion. :-)
"Rest at ground" simply means the wire(s) are grounded until a switch is activated.
I can't think of any application in the RX8 where this applies.
No need to think too much into this... its actually a simple wiring job if you follow what I suggested above.
Buy an automotive N/C relay, wire one side to the 15A CIGAR fuse, and run the ground to the chassis.
We'll need a constant voltage to power it from something like the 15A ROOM fuse.
I'll try to make a wire diagram for you to follow...
No need to run wires everywhere... just tape the relay against one of the wire bundles behind the inside fuse panel somewhere.
Think its weird to tape a relay up like that?
Wait to you see how and where the trunk lid opener relay is mounted... around the same place, taped against a bundle of wire
I can't think of any application in the RX8 where this applies.
No need to think too much into this... its actually a simple wiring job if you follow what I suggested above.
Buy an automotive N/C relay, wire one side to the 15A CIGAR fuse, and run the ground to the chassis.
We'll need a constant voltage to power it from something like the 15A ROOM fuse.
I'll try to make a wire diagram for you to follow...
No need to run wires everywhere... just tape the relay against one of the wire bundles behind the inside fuse panel somewhere.
Think its weird to tape a relay up like that?
Wait to you see how and where the trunk lid opener relay is mounted... around the same place, taped against a bundle of wire
Last edited by Jon316G; May 20, 2011 at 04:13 AM.
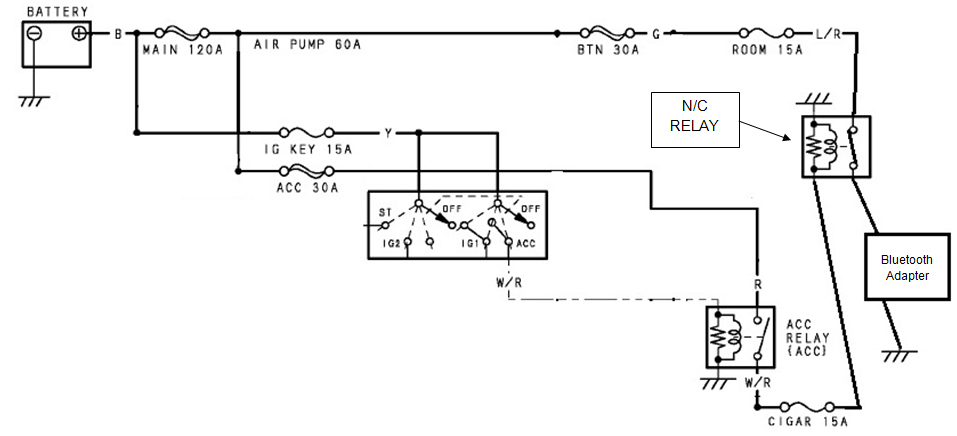
Here is the simplified version of the RX8 electrical layout with only the circuits we care about for this project.

Obviously if you still want to use the cigarette lighter, you'll just have to tap into the wire instead of running from the fuse straight to the N/C relay.
OH... and please remember to disconnect the battery before cutting/tapping into wires.
Since the ROOM fuse has constant voltage from the battery, you run the risk of getting zapped or blowing a fuse.
Good luck and keep us updated on the progress.

Obviously if you still want to use the cigarette lighter, you'll just have to tap into the wire instead of running from the fuse straight to the N/C relay.
OH... and please remember to disconnect the battery before cutting/tapping into wires.
Since the ROOM fuse has constant voltage from the battery, you run the risk of getting zapped or blowing a fuse.
Good luck and keep us updated on the progress.
Last edited by Jon316G; May 20, 2011 at 04:28 AM.
I finally gathered up all the parts needed for this and put it together. Using this info (plus a bit more reading on relays), it's now working perfectly. It took maybe half an hour to get it all spliced in once I figured out what I was doing.
Thanks!
Thanks!
Thread
Thread Starter
Forum
Replies
Last Post




