RX-9 to be a hybrid!
"Smaller, lighter, cleaner, more fuel-efficient, and more fun to drive. That's where we want to take the next rotary car," says the Mazda employee.
The RX-9 will debut sometime in late 2013.
Read more: http://www.worldcarfans.com/11105253...#ixzz1NOfB0guv






The RX-9 will debut sometime in late 2013.
Read more: http://www.worldcarfans.com/11105253...#ixzz1NOfB0guv






http://imageshack.us/photo/my-images/220/56164530.jpg/
i would buy this
i would buy this
ive being using one of the back ground track in my mind, going back over and reviewing various info I have in my brain from the last few years of real info, concepts, rumour and speculation.
this morning what popped out was this idea
Kabura isnt dead

Think about it:
A Kabura proportioned Kodo(shinari) designed, 2 +2 seating(one rear or two rear doors-sliding liek kabura?) 16x powered with some electrically assisted turbo or hybrid drive train ( electric motors driving rear wheels ala the suspension patent mentioned earlier) HATCHBACK
I'd buy that. with the glass roof ( I know the racers will want a metal roof but I like the extra light for the kids)
We'd need a new concept name. Kabura was " First Arrow Fired into Battle" What the word for an Arrow that has struck it target? or maybe use Sogeki
this morning what popped out was this idea
Kabura isnt dead


Think about it:
A Kabura proportioned Kodo(shinari) designed, 2 +2 seating(one rear or two rear doors-sliding liek kabura?) 16x powered with some electrically assisted turbo or hybrid drive train ( electric motors driving rear wheels ala the suspension patent mentioned earlier) HATCHBACK
I'd buy that. with the glass roof ( I know the racers will want a metal roof but I like the extra light for the kids)
We'd need a new concept name. Kabura was " First Arrow Fired into Battle" What the word for an Arrow that has struck it target? or maybe use Sogeki
The Kabura was supposed to be the next generation of the MX-3 but on a mx-5 platform. It was much anticipated for many in the mazda community. But alas it was never released, so i bought an 8.
If Mazda really produces the RX9 as a 2 door coup on an MX 5 platform im there. I have been debating on dropping the 8 all together and getting an MX-5, doing a 8 face lift and full motor conversion. It would be bad ***
If Mazda really produces the RX9 as a 2 door coup on an MX 5 platform im there. I have been debating on dropping the 8 all together and getting an MX-5, doing a 8 face lift and full motor conversion. It would be bad ***
The Toyota hybrid system is awesome. The system would really give the car some much needed low and mid range boost plus increase in efficiency. The problem still lies in the highway mileage. The hybrid is only good up until 47mph unless Toyota decides to unleash the battery and let the hybrid motor go at a much higher speed.
The Toyota hybrid system is awesome. The system would really give the car some much needed low and mid range boost plus increase in efficiency. The problem still lies in the highway mileage. The hybrid is only good up until 47mph unless Toyota decides to unleash the battery and let the hybrid motor go at a much higher speed.
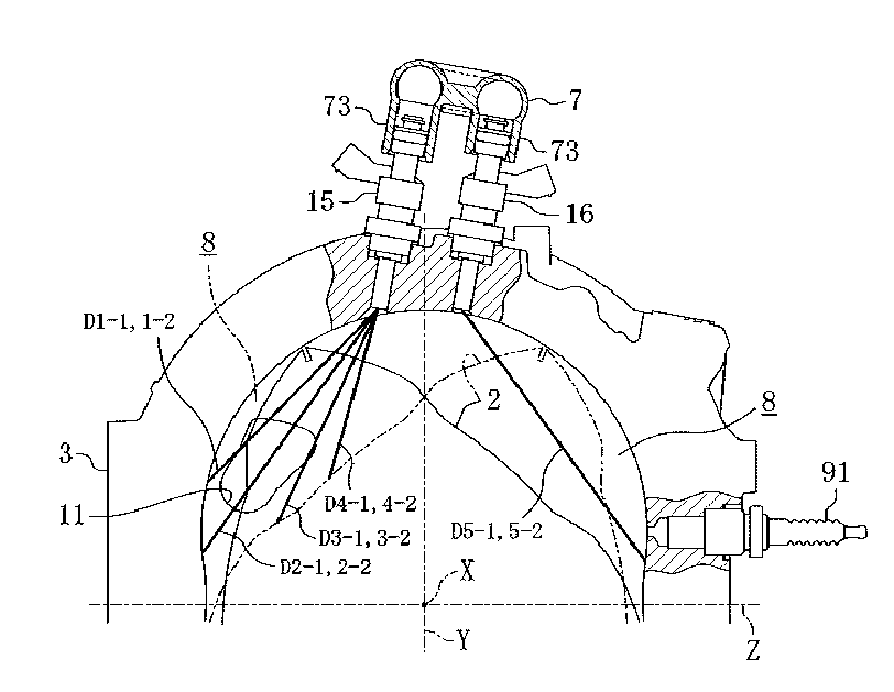
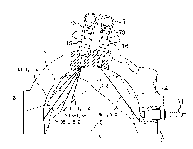
With the new direct injection system the engine will be running more efficiently at sustained highway speeds. One of the 16X patents discussed a 3 injector system and at low loads only the injector closest to the spark plugs will fire:

the injector on the right with the number 7 next to it. Also, the new 16X engine geometry reshapes the combustion chamber to allow more burn time for increased efficiency.

the injector on the right with the number 7 next to it. Also, the new 16X engine geometry reshapes the combustion chamber to allow more burn time for increased efficiency.
With the new direct injection system the engine will be running more efficiently at sustained highway speeds. One of the 16X patents discussed a 3 injector system and at low loads only the injector closest to the spark plugs will fire:

the injector on the right with the number 7 next to it. Also, the new 16X engine geometry reshapes the combustion chamber to allow more burn time for increased efficiency.

the injector on the right with the number 7 next to it. Also, the new 16X engine geometry reshapes the combustion chamber to allow more burn time for increased efficiency.
Im almost ready to part with my '04 that I bought new. Leaning towards the Genesis coupe 3.8 myself or possibly the 370z. I guess I'm ready to face the reality that a new rotary car won't be here anytime soon. But if/when it does, I'm sure I'll be ready to come back.
16X should of came on S2 Rx-8s already. I bet it could of put out 280-300hp, 20/26 fuel economy according to Mazda's statements. Everyone would of traded their S1s in for a S2. I didn't get a S2, because the price difference was too great for the few improvements. Was going to get a R3 RX-8 but opted for S1 Rx-8 and 94 FD instead.
I would agree that it would have been beneficial if the 16X had been released with the S2. As satisfied as I am with my 2004 S1, I still would have done my best to have swung the financing for an S2 with a 16X. Frankly, I wish there was something shipping with the 16X so I could start working on figuring out the engine transplant.
I have been thinking the same thing. I love my car. Ive loved it since Mazda first showed it. Years before i could drive. I promised myself that one day i will own it.
4 years driving a 1996 Mazda 626 (i loved that damn car) and the tranny blew @ 96k miles. Replacing it would have cost as much as the damn car was worth. So i went shopping.
Guess what i bought.
I will never sell this car. I will always have an RX8. If i get a new car i will just buy a new one. Keep this as my weekend and garage car. That's how much i love it. Maybe grab a S2 if the price is low enough to replace my S1.
When the 16x ships in whichever car, i will be ordering one and throwing it in this car. Im sure a transplant wont be that hard considering the dimensions are more or less the same. Could be wrong though.
With everything said about the RX-8 fuel mileage, it's surprising that the car burns less gas at the track than most other sports cars. If I recall correctly, the car was getting 9-10mpg compare to the EVO at 5-6mpg or the Corvette and Z cars at 7mpg
The disappointing thing here is not that they are moving forward trying new technology. It is that it sounds like the idea of reasonably practical rear seats are being discarded. I would just buy a Miata if I wanted to lose that feature.
My sentiments, exactly!!!
I definitely love my Rx-8, but I think they see that its not selling that well anymore, and there is a lot more noise about the 4th coming of the RX-7 or a new Rx-7 replacement. The Rx-8 was a great idea and worked for a while but without a newer engine or more power and more drastic improvements the S2 is setup for failure. I mean damn, 200+ units sold in 6 months? thats ridiculous. People are asking for a new Rx-7, the miata is a great car for people on a budget. Go to sevenstock and any Mazda event, and the people want a new Rx-7 and thats the majority of the questions being asked. Its been like this for a long time since 2002.
i smell disaster.....normally hybrid cars weigh like a house made of cast iron.....unless mazda goes all out with the "gram strategy" then this car will be heavier than the rx-8 which is decently heavy compared to the rx-7 2nd and 3rd gens....and judging from the concept art....there is alot more metal then there needs to be....dont get me wrong it looks dead sexy...but if i wanted a sexy i would get something else....i want a sports car i dont care how ugly it is...if its
A. fun to drive
B. makes people scared in the twisties
C. makes decent power 200-350hp
D. must be decently light in weight
so far the way mazda is going im either going for the FT-86/FR-S concept from toyota/scion or im just going to keep my rx-8 and fix up my rx-7....because honestly compared to the 80's/90's japanese sports cars have gained alot of excesses weight....but then again safety regulations etc etc....
A. fun to drive
B. makes people scared in the twisties
C. makes decent power 200-350hp
D. must be decently light in weight
so far the way mazda is going im either going for the FT-86/FR-S concept from toyota/scion or im just going to keep my rx-8 and fix up my rx-7....because honestly compared to the 80's/90's japanese sports cars have gained alot of excesses weight....but then again safety regulations etc etc....
Last edited by Darkproducer; Jun 7, 2011 at 12:36 PM.
We have discussed other hybrid options in this thread that DON'T add tons of weight.
Please re-read.
He is "OUTSIDE THE BOX"
the only way to move forward is to NOT have an electric motor assisted vehicle. But to adopt a better system like Hydrogen (this is an example). Granted America is not equipped to take on a production Hydrogen car but it a far better option than a gas electric hybrid. I have two fueling stations that are relatively close to where i live. I personally could care less about fuel consumption as I purchased the car knowing that result. I want a fun, light, agile car to drive, thats a 2 door coup, not a wannabe, and not a heavy gas electric hybrid. If i wanted one of those i would have bought a Prius or maybe save some cash and buy a Tesla.
There are other systems that could be used and adopted to improve hwy fuel economy, much like the chev vet with 28mpg hwy ONLY, otherwise fuel consumption sux.
However i am both excited and anxious to see what Mazda has in store for the future, as most of this is just talk and the true final outcome has yet to be determined.
2Cents worth
Last edited by josh95mx; Jun 7, 2011 at 03:25 PM.
I personally have no problems with hydrogen, but engineering will never make hydrogren have more energy content than gasoline. Gasoline is used because it simply has the highest energy content, and takes relatively little energy to put into that form. Electricity is great, easy to produce, but hard to store.
The hybrids just attempt to combine these possibilities, but using the superior energy content in gasoline to provide the electricity cheaply.
But, I was mainly talking about his locked in view that hybrid = heavy.
The series hybrid Namir, with an 800cc turbo rotary as the combustion engine powering 4 electric motors, produces at least twice the power of the RX-8, all wheel drive, 4 times the fuel mileage, 30% higher top speed. And guess what? It's less than half the weight.
Don't get locked in that "hybrid must be heavy" because 1 company made the worst possible hybrid setup and turned a potentially 2,250lb car into a 3,000lb slug. Batteries make it heavy, not "hybrid". Hybrids are possible without batteries.
The hybrids just attempt to combine these possibilities, but using the superior energy content in gasoline to provide the electricity cheaply.
But, I was mainly talking about his locked in view that hybrid = heavy.
The series hybrid Namir, with an 800cc turbo rotary as the combustion engine powering 4 electric motors, produces at least twice the power of the RX-8, all wheel drive, 4 times the fuel mileage, 30% higher top speed. And guess what? It's less than half the weight.
Don't get locked in that "hybrid must be heavy" because 1 company made the worst possible hybrid setup and turned a potentially 2,250lb car into a 3,000lb slug. Batteries make it heavy, not "hybrid". Hybrids are possible without batteries.



heh